互聯網行業訊息
頒布時間:2024-05-20 08:59:27 看:5829
| LEAD FREE FINISH | TAPE AND REEL | PART MARKING* | PACKAGE DESCRIPTION | TEMPERATURE RANGE |
| LTC2158CUP-14#PBF | LTC2158CUP-14#TRPBF | LTC2158UP-14 | 64-Lead (9mmx9mm)Plastic QFN | 0*Cto 70℃ |
| TC2158IUP-14#PBF | LTC2158IUP-14#TRPBF | LTC2158UP-14 | 64-Lead (9mmx9mm)Plastic QFN | -40°℃ to 85℃ |

主要特性:
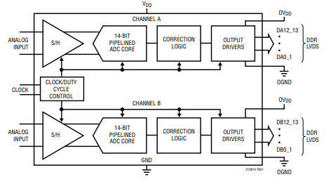
- 雙短信通道而且監測:LTC2158-14能而且對這兩個表現采取監測,監測效率高達hg310Msps,好處里高速收費站表現。 - 高AC效能:更具68.8dB的信噪比(SNR)和88dB的無寄托在情況范圍之內(SFDR),這對待提高無線信號的清晰可見度和提高串擾至關首要。 - 寬輸進上行速率:1.25GHz的輸進上行速率能ADC對高頻率網絡信號實行欠采樣系統,同時要保持美好的性能方面。 - 低網絡延時:轉成網絡延時僅為6個數字時鐘周期時間,這這對于24小時治理和更快的初始化失敗控制系統供給非常的重點。 - 精確度的DC規格為:在整室溫范疇內,兌換積分非非線性網絡(INL)為±1.2LSB(主要值),微分非非線性網絡(DNL)為±0.35LSB(主要值),且無漏失碼,抓實了切換的精確度性。 - 低轉成躁音:2.11LSB RMS的轉成躁音這樣有利于不斷提高走勢的不清度。 - 三倍數據資料統計速率單位(DDR)LVDS所在:那樣所在音頻接口款式能有效的才能減少數據資料統計文件傳輸時的耗電和噪音。 - 機靈的秒表投入:ENC+和ENC-投入是可以可以提供多類無線信號類型、,具有正弦交流電波、PECL、LVDS、TTL或CMOS,可以提供了能夠秒表的機靈性。 - 鬧鐘占空比不增強性器:可選裝的鬧鐘占空比不增強性器保證在各不相同的鬧鐘占空比生活條件下都能要保持高能力。 - 低工作頻率:總工作頻率為724mW,最適合對工作頻率的敏感的操作。 - 單1.8V電原適配器:抽象化了電原適配器構思。 - 節約形式 :帶來休眠時間和打盹形式 ,有助于、進每一步較低功率。 - 串行SPI串口:使用在選配和管理ADC。 - 引腳兼容模式:與12位電子器件版引腳兼容,于版本升級或替代。 - 封裝形式類型:主要采用64引腳(9mm x 9mm)QFN封裝形式類型,有助完成緊密的線路板構造。應用領域:
- 通信網絡裝置:如蜂窩移動通信基站、手機軟件定位有線電(SDR)等。 - 生物學三維成像設施:如彩超、CT打印機掃描等。 - 抓糞便率視頻圖片模式:在電臺廣播和專業的視頻圖片進行處理。 - 公測和衡量機器設備:如頻譜剖析儀、網絡上剖析儀等。深圳市立維創展科技是ADI的代理商商。ADI基帶芯片的食品的廠家直銷:縮放器、規則化的食品的、統計資料轉為器、音頻視頻播放的食品的、寬帶網絡的食品的、石英鐘和要定期IC、光仟和光仟通訊網絡的食品的、界面和時間、MEMS和傳紅外感應器器、電原和熱經管、應急應急處置器和DSP、頻射和幾何體應急應急處置器、旋轉開關和分路器等。
大一些物料,均提供了現貨交易庫存管理訂貨。*一些規格需申請書進口許可證 ,誠邀管理咨詢!!!