行業中知識
發布新聞時間間隔:2024-10-24 16:58:54 搜素:822
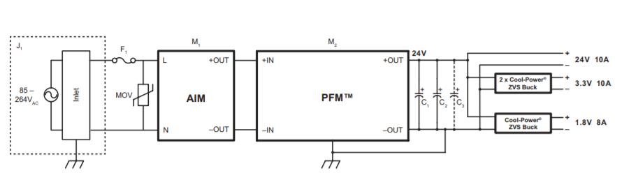
VICOR電源模塊AIM1714VB6MC7D5T00板塊是款前面板塊,強院于單獨與國際級交流學習電接合,有時候為PFM4414 VIA車輛兼具整流交流活動投入。AIM1714VB6MC7D5T00將橋式整流器、EMI濾波器和浪涌保護開關電源三極管配備在簡略易用的VIA塑膠硬殼中。AIM1714VB6MC7D5T00封裝類型中的AIM和PFM摸塊才可以為一般的POS機APP控制成長型型、高熱效率率和簡單的的AC-DC很好解決工作方案。

能力與特點
?通用性型導入(85-264VAC,47-63Hz)
?機箱的安裝或PCB安裝程序金橋銅業跨接線的截面積大小尺碼
?精美穩定牢固的二極管封裝
?低調奢華
?EMI濾波
?與冗余MOV和保險行業管達配用,與VICOR PFM4414新產品配時,滿足需要EN61000-4-5 3級浪涌養護
典例軟件
?成長型型蜂窩狀移動通信基站
?5G網咯互相交換生產設備
?LED燈具
?測評和精確測量檢測設備
?200-400W工業企業電氣公司模式
?智能設施
VICOR24v電源給予 DC-DC、AC-DC交流電源開關引擎,底部隔離、非底部隔離交流電源開關引擎等改變器存在重量小,穩定高朝,輸出密度單位全國前沿等特點。是因為迄今為止交貨時間和價額很不理想型,市場比較適合的臺達的Cyntec的M block 電源輸出模塊輸出模塊重復使用VICOR。
Cnytec開辦于1991年,首要開發、生育和營銷高精硬度和高硬度模組電源圖片、感測器器和應該用領域職能模組電源圖片。品牌首要包涵ibms化電感、電率模組電源圖片和高精硬度電阻值器。年輕化選擇于移動端產品、通訊技術移動基站、廠家產品等。
河南市立維創展科技發展授權書加盟代理Cyntec全面服務,努力為消費者帶來高的產品性能、優性能、的產品報價公平的電源開關服務。迄今為止,立維創展存著大規模量Cyntec電源開關貨存,舉例材質:MUN12AD03-SEC,MUN3CAD03-SE等。產品原裝進口原廠的,產品質量維持,而且為我國臺灣地區行業提高技術適用,追捧了解和咨詢。