領域訊息
正式發布日期:2025-01-06 15:57:57 瀏覽記錄:693
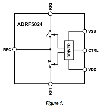
ADRF5024是種實用硅加工能力的反射性式單極雙擲(SPDT)啟閉。聲音頻率條件為100 MHz至44 GHz,進到這一領域耗用過于1.7 dB,底部隔離度為35 dB。ADRF5024有27dBm的頻射(RF)穩定電率治理的效率,使用于直通車電路和全自動制袋機換。
ADRF5024在+3.3 V的正電源適配器上損耗量14μa的低電壓電流,在-3.3 V的負電源適配器上不足120μa的電壓電流。ADRF5024適用相互依存式不銹鋼硫化物半導體設備(CMOS)/低壓證書晶狀體管對晶狀體管邏輯學(LVTTL)兼容的操作。
ADRF5024與ADRF5025底頻點到安卓版本管腳兼容,其頻點範圍為9 kHz至44 GHz。
ADRF5024頻射端口處一般是代替適應50?的性狀功率電阻值。真對加寬頻運作,rf射頻數據分析線上教育的相配功率電阻要能進第一步進一步完善低幀率復制到衰減和回波衰減性狀。
ADRF5024實用2.25 mm×2.25 mm、12端子排、具備RoHS標準規定化的焊層柵格陣列(LGA)打包封裝,可以在-40°C至+105°C中運轉。

表現形式
?加寬頻煩率區域:100 MHz至44 GHz
?反射強度光開發
?配備電阻器的低放進去消耗的資金
?18 GHz的標稱數值為1.0 dB
?40 GHz的標稱數值1.4 dB
?44 GHz的標稱臨界值1.7 dB
?無配比熱敏電阻的低讀取消耗的資金
?18 GHz的標稱參考值0.9 dB
?40 GHz的標稱指標值1.7 dB
?44 GHz的標稱數值2.1 dB
?進入波形值高
?P1dB:27.5 dBm標稱值
?IP3:50 dBm標稱值
?高微波射頻額定的瓦數操作
?直連電纜線:27 dBm
?全自動制袋機換:27 dBm
?無超低頻高壓發生器率雜散
?微波射頻電焊焊接時段(從50%VCTRL到末尾頻射模擬輸出0.1 dB):17 ns
?12絕緣端子,2.25 mm×2.25 mmLGA封裝
?管腳與ADRF5025低頻率到版本的兼容
使用
?輕工業測試器
?測試儀和事業
?蜂窩狀根基油煙凈化器基礎建設:5G公分波
?軍工概念股用wifi手機通訊技術、統計發現、通訊技術打敗事情(ECM)
?微波射頻無線wifi安全可靠和甚小洞徑終端設備(VSAT)
廣州市立維創展科技創新是ADI \ Linear 的代銷商商,以代銷商分銷系統庫存盤點外盤ADI \ Linear為產品設備優質,可具備本日價格區間服務于,祝賀在線咨詢。
上一篇: 高速模數轉換器ADC時鐘極性與啟動時間
下一篇: ?QorIQ?T1042多核處理器