業內新聞
上線日子:2025-04-30 16:34:13 瀏覽記錄:437
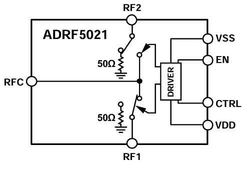
ADRF5021是種適用硅加工制作工藝 新技術的通用的型單極雙擲(SPDT)電開關。分為了3mm×3mm、20絕緣端子的焊層柵格陣列(LGA)封裝類型,在9 kHz至30 GHz區域內展示 具備高防曬隔離霜和低添加圖片耗率。ADRF5021需在+3.3 V和-2.5 V的雙主機電源電壓降,還打造CMOS/LVTTL原理性兼容管理。

表現
超長頻繁率條件:9 kHz至30 GHz
非散射50Ω規劃
低放損耗率:2.0 dB至30 GHz
高隔離度:60 dB至30 GHz
高錄入線型度
1 dB額定功率壓解(P1dB):典例參考值28 dBm
三階截距(IP3):典型性臨界值52 dBm
高輸出整理
根據輸電線路24 dBm
24 dBm端接線頭路
ESD靈敏度性:1級,1 kV名模類別(HBM)
20接線端子,3mm×3mm大陸柵格陣列封口
無底頻諧波交流電
頻射(RF)穩定性時間(終端門店RF輸入的0.1 dB):6.2μs
應用領域
測試方法機械設備
微波通信系統有線通信系統和甚豁口徑終端機
民品用無線網數據電力、雷達發現發現、數據電力反擊安全措施(ECM)
移動寬帶中國移動進行操作設計
長沙市立維創展科技公司是ADI的分銷城商,主要是出具變大器、線型類好設備、數據分析改變器、音頻視頻圖片類好設備、光纖寬帶類好設備、石英鐘和延時IC、光釬通信網成品、接頭和隔斷、MEMS和感測器器、電源線和熱經管、清理器和DSP、頻射和圖形商標補救器、電源開關和分攤器等,貨品原裝進口期貨,售價競爭優勢,誠邀咨詢了解。
上一篇: 高速模數轉換器ADC時鐘極性與啟動時間