領域咨詢
推送期限:2025-05-12 16:42:47 挑選:400
現在半導體技術行業市場產生快節奏的狀態下,找出穩定原廠裝配的主機電源模組使用被選為公程師的急切需要各種需求。針對性TI的TPSM82822、LMZ20502、LMZ30602、TPS84210及LTM8061等電壓模塊電源代換解決方案,Cyntec有所作為臺達主打產品品牌標志,其電原模組使用AEC-Q100車規身份認證,并提供了中國大中國中南部的地方化技術工藝可以,以保證替代品方案怎么寫的靠譜性和長年現貨供應動態平衡性。MUN3CAD02-JE以菁英的耐磨性、即插即用的兼容問題及敏銳的生產程度,當上TI多厚電源開關摸塊的好的替代品取舍方案怎么寫。
參數值進行對比
指標 | MUN3CAD02-JE | TPSM82822 | LMZ20502 | LMZ30602 | TPS84210 | LTM8061 |
內容輸出電壓 | 2A | 2A | 2A | 2A | 2A | 2A |
復制粘貼電阻位置 | 2.7V - 5.5V | 2.4V - 5.5V | 2.7V - 5.5V | 2.95V - 6V | 2.95V - 6V | 2.375V - 5.5V |
輸入電流范圍圖 | 0.6V - 3.3V | 0.6V - 4V | 0.8V - 3.6V | 0.8V - 3.6V | 0.8V - 3.6V | 0.8V - 5.5V |
封口規格 | 3.5mm×3.5mm×1.75mm | 2.0mm×2.5mm×1.1mm | 3.5mm×3.5mm×1.75mm | 9mm×11mm×2.8mm | 9mm×11mm×2.8mm | 3.2mm×3.2mm×1.22mm |
任務攝氏度條件 | -40°C至+125°C | -40°C至+125°C | -40°C至+125°C | -40°C至+125°C | -40°C至+125°C | -40°C至+125°C |
按鈕頻繁 | - | 1.5MHz | 1.5MHz | 1.5MHz | 1.5MHz | 1.5MHz |
取代優勢可言
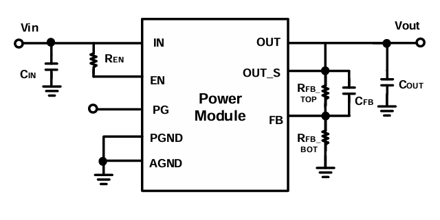
1. 芯片封裝尺寸規格
l 與LMZ20502能比:MUN3CAD02-JE的二極管封裝盡寸與LMZ20502同樣,均為3.5mm×3.5mm×1.75mm,是和位置異常的APP。
l 比LMZ30602和TPS84210小:MUN3CAD02-JE的封裝形式尺寸顯著需小于LMZ30602和TPS84210,這在地方限制的PCB設計的概念中也是個明顯的優勢可言。
l 與LTM8061近意:MUN3CAD02-JE的裝封規格尺寸與LTM8061相同,但略大許多。要對裝封面積有嚴標準標準,LTM8061概率可薦,但在其他的效能基本參數上,MUN3CAD02-JE或許凸顯出強勢。
2. 復制粘貼的電壓范疇
l 與LMZ20502該是:MUN3CAD02-JE的復制粘貼電阻值規模與LMZ20502同樣,均為2.7V - 5.5V,用在于內似的投入交流電壓環境。
l 比LMZ30602和TPS84210略窄:MUN3CAD02-JE的輸進電壓電流領域略窄于LMZ30602和TPS84210,但始終包含了常有的3.3V和5V搜索24v電源。
l 比LTM8061略寬:MUN3CAD02-JE的鍵入相電壓范圍圖比LTM8061略寬,也能適于更大條件的搜索交流電壓條件。
3. 傷害電壓降規模
l 與LMZ20502和TPSM82822十分:MUN3CAD02-JE的內容輸出額定電壓領域與LMZ20502和TPSM82822相對比較說出,均包含了熟悉的低壓大電流降采用。
l 比LMZ30602和TPS84210略窄:MUN3CAD02-JE的打出相電壓條件略窄于LMZ30602和TPS84210,但仍舊就可以具備大都數低交流電壓運用所需。
l 比LTM8061略窄:MUN3CAD02-JE的所在交流電壓條件比LTM8061略窄,但始終覆蓋住了常考的0.6V至3.3V的傳輸相電壓區間。

4. 作業熱度依據
與擁有型號規格該是:MUN3CAD02-JE的操作溫度表范圍內與TPSM82822、LMZ20502、LMZ30602、TPS84210和LTM8061完全相同,均為-40°C至+125°C,應多用于多的工業制造和商業圈采用。
5. 的成本與交貨
出廠價降低了30%-50%,罷免國際加盟品牌NRE相應費用,文件批量購進時整體上BOM成本價可壓縮視頻15%上述。
提貨時期動態平衡在4-6周,區域材質適配現貨黃金提供。
6. 效果與可靠性以及安全性性
性能指標與安全性:MUN3CAD02-JE在性和穩定可靠系數等方面會與上面款式很大,但在些目標應用軟件中會突出表現最好。諸如,MUN3CAD02-JE機會在有的某的負債要求下提拱比較高的高效率或更低的紋波。
杭州市立維創展創新科技加盟代理權加盟代理Cyntec新線路物料,秉承為用戶作為高品性、高物品品質量、價錢房屋公證的電源開關功能模塊物料。日前,立維創展留有一大自定義Cyntec24v電源交易量,這類型號:MUN12AD03-SEC,MUN3CAD03-SE等。軟件原裝機原廠的,線質量維持,全為全球內地市場中出示的技術支技,熱烈歡迎了解和咨詢。