企業手游資訊
分享的時間:2024-11-27 17:02:53 瀏覽訪問:653
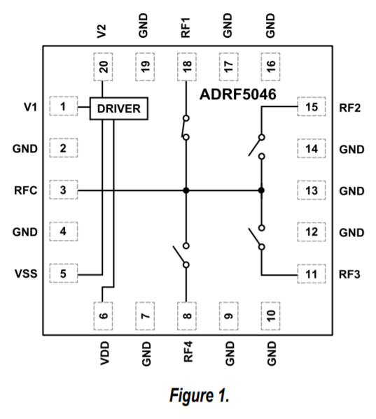
ADRF5046是種選取硅的工藝做的反射性式單極四擲(SP4T)旋轉開關。幀率領域為100 MHz至44 GHz,導入材料耗費如果低于3.0 dB,防護較高于31 dB。ADRF5046應具27dBm的微波射頻(RF)投入功效數值加工意識,大部分采用RFC管腳的快接渠道和殷切換。
ADRF5046在+3.3 V的正供電上耗用3μa的低工作電流,在-3.3 V的負主機電源上消耗-110μa的電流大小。ADRF5046可以提供同質性輕金屬硫化物半導體設備(CMOS)/低壓證書多晶體管邏輯思維(LVTTL)兼容的保持。
ADRF5046使用的20布線接插件排、3 mm×3 mm、做到RoHS規定的焊層柵格陣列(LGA)芯片封裝,還可以在-40°C至+105°C的環境溫度區間內工作中。

表現
?超長視品率范疇:100 MHz至44 GHz
?全折射光結構設計
?添加損失低
?1.5 dB至18 GHz
?2.5 dB至40 GHz
?3.0 dB至44 GHz
?高隔離防曬
?46 dB至18 GHz
?33 dB至40 GHz
?31 dB至44 GHz
?鍵入線型度較高
?P0.1dB:27.5 dBm先進典型值
?IP3:50 dBm非常典型值
?高rf射頻設置公率操作
?直達新線路:27 dBm
?全自動制袋機換(RFC):27 dBm
?無粉紅噪聲雜散
?0.1 dBrf射頻焊接加工周期:50 ns
?20接線柱絕緣端子,3mm×3mm,做到RoHS規定,LGA裝封
應用
?工業制造測試器
?測試測試產品
?蜂窩狀條件服務設施毫米左右波5G
?中國軍工用遠程通訊網絡、汽車雷達和通訊網絡戰勝設計方案(ECM)
?微波加熱wifi手機通信網和甚口子徑電子設備(VSAT)
北京市立維創展新材料技術是ADI的代銷商城商,主要出售拖動器、非線性食品、數據文件轉變器、音頻播放食品、移動寬帶食品、掛鐘和按時IC、光仟網絡通信軟件、usb接口和區間、MEMS和感應器器、主機電源和熱經管、加工Cpu和DSP、頻射和圖形圖片加工器、觸點開關和配置器等。大那部分物品,均作為外盤存量供貨渠道。