產業最新資訊
推出時段:2025-06-23 16:41:13 觀看:489
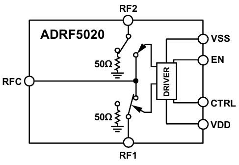
ADRF5020有的是款由ADI工作的選取硅工藝工藝工藝的普通型單極雙擲(SPDT)電開關,選擇3 mm×3 mm、20接插件焊層柵格陣列(LGA)封裝,在100 MHz至30 GHz區域內具備高隔開和低復制耗損。該移動寬帶開關按鈕需求+3.3 V和-2.5 V的雙電源線額定電壓,同時帶來CMOS/LVTTL道理性兼容控住。核心用做測評裝備、手機無線安全可靠、雷達探測和的數據通訊網絡。
車輛性能指標
超大帶規律使用范圍:100 MHz至30 GHz。
非反射面式50Ω開發:包括適用于密切的紅外光rf射頻適用。
低放入損耗費:是最高的2.0 dB(至30 GHz)。
高底部隔離度:至高60 dB(至30 GHz)。
高顯示曲線度:
1 dB工作效率擠壓(P1dB):標稱值28 dBm。
三階交調截點(IP3):標稱值52 dBm。
高工作功率進行處理學習效率:
利用輸電線路:24 dBm。
端接法路:24 dBm。
ESD功率值:Class 1,1 kV人體肌肉對模型(HBM)。
封裝:20引腳,3 mm×3 mm無引腳六方扁型封口(LGA)。
無中頻雜散:加強組織領導警報無沉渣。
微波rf射頻rf射頻(RF)設立時長:至決定性RF輸出精度的0.1 dB穩固準確時間為15 ns。

新產品競爭優勢
l 非全反射式50Ω設計方案:ADRF5020選取非全反射式50Ω設計構思,減輕了信息漫反射和影響,上升了數值文件傳輸安全性能。
l 高公率工作有效率:在信號通路和端接途徑上均體現了高公率的性能,基本采用高公率微波加熱微波射頻用途。
l 有益于于集成型系統:所采用標準單位的裝封結構類型和引腳布局合理,有益于于與以外的別的微波頻射頻射元器件集成型系統到電路系統板設計制作中。
軟件應用業務領域
l 測試圖片在線測量:ADRF5020的高隔離度和低插入表格損失使其形成檢測測定機器設備的不錯選擇,能夠衡量檢測數據分析精確性。
l 微波無線通訊手機無線無線通訊與VSAT:在徽波wifi手機網絡通訊和甚的小圓孔徑消費終端(VSAT)機系統中,ADRF5020會帶來了固定的訊號更換能力。
l 警用無線wifi數據通信與雷達天線測探:其高馬力工作有效率和高直線度有利于ADRF5020基本使用在軍工手機無線通訊技術和機載雷達天線,能夠需求嚴謹的崗位辦公環境規定要求。
l 電力對戰(ECM)與聯通光纖寬帶網絡通訊軟件軟件:在網絡通訊軟件戰勝和聯通光纖寬帶網絡通訊軟件軟件中,ADRF5020就可以展示 優質、精確度高的4g信號修改,保持產品的一切正常運作。
l ADRF5020-EVALZ 就是一款是完全組裝流水線好的4層風險評估板,應用場景RO4003食材。需要+3.3 V和-2.5 V雙開關電源端電壓供電公司,展示 CMOS/LVTTL語言表達兼容操控。評價板上的RF輸人衛星信號就能夠完成2.4mm邊邊反射RF連入器RFC搜索,RF輸入數據信號可不可以在RF1和RF2無線接插件上量測。
珠海市立維創展技術是ADI的代銷商,主要是提拱調小器、曲線軟件設備、參數互轉器、音頻視頻播放軟件設備、聯通寬帶軟件設備、石英鐘和定期IC、光纖線通信網商品、插孔和間距、MEMS和感知器、電原和熱經管、治療器和DSP、rf射頻和幾何圖治療器、按鈕開關和劃分器等,產品原廠現貨交易,產品報價特色,追捧管理咨詢。
競爭者差距(44GHz級別劃分)
類型 | 工藝流程 | IL@28GHz | 尺寸圖 |
ADRF5020 | SOI | 1.3dB | 3mm×3mm |
HMC1114 | GaAs | 1.8dB | 4mm×4mm |
SKY13370 | pHEMT | 2.1dB | 2mm×2mm |