餐飲行業資迅
公布的事件:2025-07-02 16:46:07 搜素:198

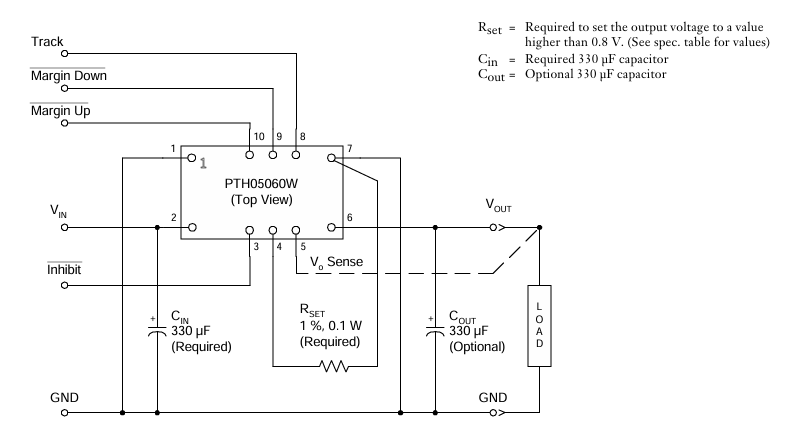
在繁多多核處里器數值設計的外接電源三極管中,TI的PTH05060WAH板塊借助于其高傳輸電流值和緊密型尺寸大小倍受到大眾們喜愛。雖然,逐漸國產電源開關新技術的發展壯大,Leadway推行的LWH05060WAH供給了美好的原位使用方案怎么寫,在特點產品參數準確度相匹配的要素下,進一個步驟逐步完善了室內溫度順應性和功效分等級表達。
技術指標價格對比
指標 | PTH05060WAH(TI) | LWH05060WAH(Leadway) |
顯示交流電壓比率 | 4.5V ~ 5.5V | 4.5V ~ 5.5V |
輸出的的電壓范圍之內 | 0.8V ~ 3.6V(可變) | 0.8V ~ 3.6V(可以調整) |
讀取感應電流 | 10A | 10A |
的效率 | 94% | 94% |
芯片封裝尺寸圖 | 10-DIP(25.4mm × 15.7mm × 8.9mm) | 10-DIP(25.4mm × 15.7mm × 8.9mm) |
事情平均溫度 | -40℃ ~ 85℃ | -40℃ ~ 116℃ |
LWH05060WAH關鍵點的功能:
熱敏電阻調油壓機制:能夠外接0.1W 1%精強度電阻功率(100ppm/℃溫漂標準要求)確保0.8V-3.6V精淮傷害
重新監視技術:兼容多傳感器同時進行通電時序控制
呵護管理機制:整合非保護區裝置過直流電呵護、把控引腳關斷功能性
Vo視覺記憶補嘗:可選擇擇鏈接以消除錢路壓降
代替必須性
電功能兼容
- 鍵入/輸入輸出的電壓范圍內、電壓電流、效果大致共同,能隨時重命名不能自己調整用電線路設計的。
- 模擬輸出電壓電流可調式功能性(根據內阻制定)與 TI 原具體型號高度,夠滿足靈巧配值需要量。
機制長寬比篩選
- 封裝風格(10-DIP)及尺寸大小仍然類似,PCB 結構不必調準,較低代替投入。
軟件應用動畫場景合并
- 都支持于 DC/DC 改換器、VRM(端電壓調節器包塊)等中幾率、大功率電源開關景象,受眾用也包括好幾處理器軟件系統、DSP、微的控制板供電系統等。
生產成本與批售鏈優質
- Leadway 成為國內生產生產廠家,售價也會更有的認知度,且生產鏈平穩能相對比較的部分進口的產品。
廣州市立維創展新材料技術有限責任公司的享用20年智能元電子元件系統掌握,靠譜的廠品生產制造和質量專業團隊,創造Leadway電源開關信息模塊成品設備。以科技革新為中心,做最合適市揚需要的成品設備規格型號。成品設備競品美系、日系品牌,保持pin &pin轉換如須得任意技術性扶持,或車輛了解和資訊,迎接了解和資訊.